A recent patent filing suggests thatMicrosoftmay be looking to track in-game events to understand better how users play games. The tech giant has been actively working on expanding its footprint in gaming in recent times and this patent filing comes asMicrosoft’s latest effort in the space.

Microsoft has been looking to make headway in the gaming industry through notableacquisitions like Bethesda, the pending Activision Blizzard buyout, and its Game Pass subscription and cloud gaming services. While Microsoft itself is currently facing its fair share of challenges, particularly after the FTC sued the tech giant over the Activision acquisition, the company doesn’t look to be slowing down its gaming ambitions.

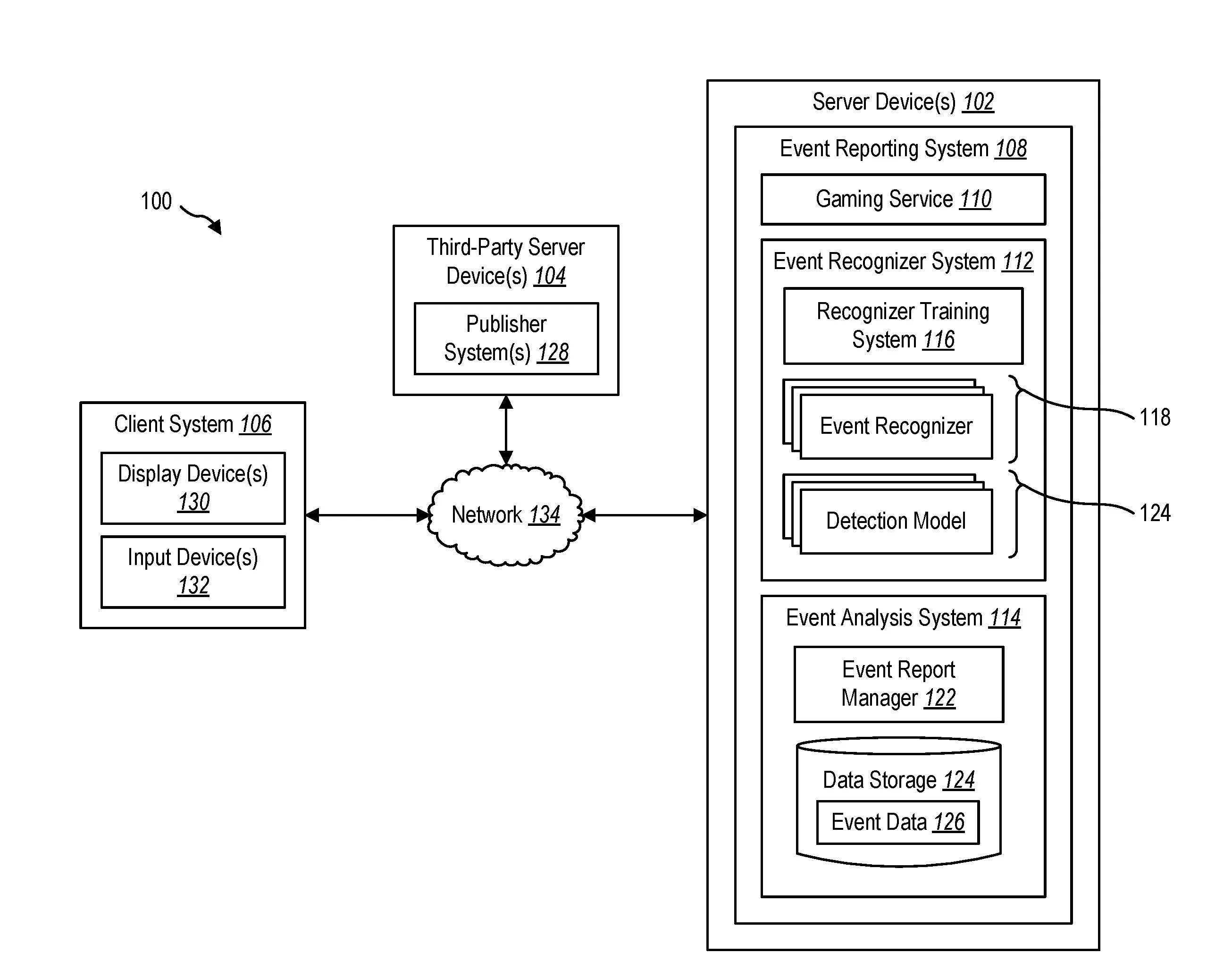
Microsoft event tracking system

RELATED:Microsoft Files Patent for Enhancing Gaming Content in Older Games

According to the patent filing, theMinecraftowner appears to be working on an in-game event tracking and reporting system. The idea is that the system could track numerous in-game events such as level progression, how often a menu is paused, win statistics, and a plethora of other occurrences that impact gameplay. The tracking system wouldn’t be limited to just one title, but rather multiple titles across several gaming applications. As the event tracking system is dependent on gaming content, it could also ascertain events in different gaming systems be it PC, console, or mobile.

One of the more interesting propositions of the tracking system is the idea of providing comprehensive reports for competitive gamers whose careers span several titles and genres. Such event reports may include information such as statistics related to passing levels, win/loss data, statistics on gameplay duration, and a host of other related information from tracking in-game event instances. Incidentally, this use case falls in line with another patent for asystem that would let Microsoft analyze esports competitions.

Microsoft also claims that the tracking system could even be used to identify instances ofuser-exploits, frequency of bug-related events in games, and other unexpected events. The filing states that the system would avoid a player’s system bandwidth or local resources to function, instead relying on cloud computing capabilities. Additionally, Microsoft points out that since the system would depend on gaming content such as video, audio, and controller inputs, it would work without needing to access software, source code, or processing signals of a particular gaming application.

As of now, what’s unclear is how Microsoft will go about incorporating this system within its ecosystem and how it will look to involve other players from the industry. In any case, the tech giant may have more immediate concerns on its hands as it attempts to navigate themassive $69 billion Activision Blizzard acquisition amid rising regulatory pressure.